概述:
电动对夹式蝶阀有开关型和智能型二种,蝶阀与BS电动执行机构配套,输入控制信号(4~20mADC或1~5VDC)及单相电源即可控制运转,具有功能强、体积小、轻便宜人、性能可靠、配套简单、流通能力大,特别适合于截至是粘稠、含颗粒、纤维性质的场合。目前该阀门广泛应用于食品、环保。轻工、石油、造纸、化工、教学和科研设备、电力等行业的工业自动控制系统中。
电动衬氟蝶阀主要结构参数
电动衬氟蝶阀主要零部件材料
电动衬氟蝶阀执行标准
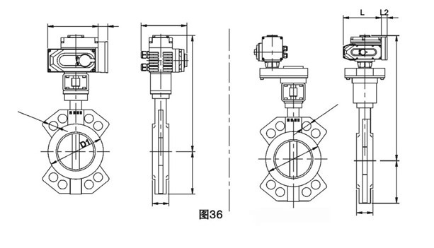
电动衬氟蝶阀主要外形连接尺寸(虚线部分为模拟量控制盒,开关型无此尺寸)