产品总汇Products
产品列表
当前位置:首页 > > 产品总汇 > 电动阀 > 电动球阀

电动球阀

阀体材质:CPVC
公称通径:DN15-200mm
压力范围:0.6Mpa~1.6Mpa
流体温度:-10℃-110℃
功能选项:开关、调节
连接方式:法兰、螺纹、由令
适用介质:PVC兼容的食品工业化学溶剂
行业应用:应用于 医疗器械、太阳能、清洗设备、食品机械、燃烧器、焊接切割、消防安全、生物制药、机械制造、水处理等行业

咨询热线:0577-27863708
此产品相关资料下载
  • 产品描述

概述:

CPVC电动球阀采用双由令、法兰连接,不须适用特殊工具即可快速装配。具有结构紧凑、耐磨损、容易扯卸、方便检修、维护简单易行等优点。阀体材质卫生无毒、耐腐蚀性强、重量轻、应用范围广、例如:纯水和生饮水的管路系统、排水和污水管路系统、盐水和海水管路系统、盐酸和化学溶液系统等多个行业。

详细参数

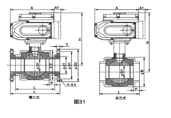
主要外形尺寸(虚线部分为模拟量控制盒,开关型无此尺寸)

阀门连接尺寸及重量

在线客服

在线客服